Categories
- Pipe & Tube (18)
- Flange & Fitting (97)
- Fastener & Gasket (12)
- Valve & Pump (18)
- Base Material (11)
- Equipment (8)
- Application (31)
- Technical (110)

Technical drawing of ASME B16.11 90° elbow with socket welding ends. A: center-to-bottom of socket; B: socket bore diameter; D: bore diameter of elbow; C: socket wall thickness; G: body wall thickness; J: socket depth.

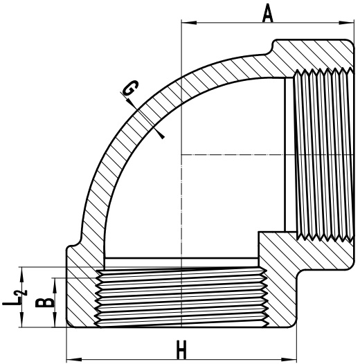
The technical drawing of ASME B16.11 90° elbow with NPT threaded ends. A: center-to-end of threaded elbow; H: outside diameter of band; G: minimum wall thickness; B: minimum length of perfect length; L2: length of useful thread.
ASME B16.11 90° elbows are used to change the pipe or flow direction by 90 degrees. They can be furnished with two socket welding (SW) ends, two threaded (THD) ends, or one socket welding end and one threaded end. The SW 90° elbows are available in Class 3000 (sizes from 1/8″ to 4″), Class 6000 (sizes from 1/8″ to 2″), and Class 9000 (sizes from 1/8″ to 2″). The THD 90° elbows are available in Class 2000, Class 3000 and Class 6000 (all in sizes from 1/8″ to 4″).
| ASME B16.11 Forged Fittings (SW & THD) | ||
|---|---|---|
| 90° Elbow | 45° Elbow | Cross |
| Tee | Coupling | Half Coupling |
| Boss | Cap | Couplet |
| Street Elbow* | Plug* | Bushing* |
| NPS | B max. | B min. | A 3000# | A 6000# | A 9000# |
|---|---|---|---|---|---|
| 1/8" | 11.2 | 10.8 | 11.0 | 11.0 | - |
| 1/4" | 14.6 | 14.2 | 11.0 | 13.5 | - |
| 3/8" | 18.0 | 17.6 | 13.5 | 15.5 | - |
| 1/2" | 22.2 | 21.8 | 15.5 | 19.0 | 25.5 |
| 3/4" | 27.6 | 27.2 | 19.0 | 22.5 | 28.5 |
| 1" | 34.3 | 33.9 | 22.5 | 27.0 | 32.0 |
| 1-1/4" | 43.1 | 42.7 | 27.0 | 32.0 | 35.0 |
| 1-1/2" | 49.2 | 48.8 | 32.0 | 38.0 | 38.0 |
| 2" | 61.7 | 61.2 | 38.0 | 41.0 | 54.0 |
| 2-1/2" | 74.4 | 73.9 | 41.0 | - | - |
| 3" | 90.3 | 89.8 | 57.0 | - | - |
| 4" | 115.7 | 115.2 | 66.5 | - | - |
| NPS | G 3000# min. | G 6000# min. | G 9000# min. | J min. |
|---|---|---|---|---|
| 1/8" | 2.41 | 3.15 | - | 9.5 |
| 1/4" | 3.02 | 3.68 | - | 9.5 |
| 3/8" | 3.20 | 4.01 | - | 9.5 |
| 1/2" | 3.73 | 4.78 | 7.47 | 9.5 |
| 3/4" | 3.91 | 5.56 | 7.82 | 12.5 |
| 1" | 4.55 | 6.35 | 9.09 | 12.5 |
| 1-1/4" | 4.85 | 6.35 | 9.70 | 12.5 |
| 1-1/2" | 5.08 | 7.14 | 10.15 | 12.5 |
| 2" | 5.54 | 8.74 | 11.07 | 16.0 |
| 2-1/2" | 7.01 | - | - | 16.0 |
| 3" | 7.62 | - | - | 16.0 |
| 4" | 8.56 | - | - | 19.0 |
| NPS | 3000# | 6000# | 9000# | |||
| D max. | D min. | D max. | D min. | D max. | D min. |
|
| 1/8" | 7.6 | 6.1 | 4.8 | 3.2 | - | - |
| 1/4" | 10.0 | 8.5 | 7.1 | 5.6 | - | - |
| 3/8" | 13.3 | 11.8 | 9.9 | 8.4 | - | - |
| 1/2" | 16.6 | 15.0 | 12.5 | 11.0 | 7.2 | 5.6 |
| 3/4" | 21.7 | 20.2 | 16.3 | 14.8 | 11.8 | 10.3 |
| 1" | 27.4 | 25.9 | 21.5 | 19.9 | 16.0 | 14.4 |
| 1-1/4" | 35.8 | 34.3 | 30.2 | 28.7 | 23.5 | 22.2 |
| 1-1/2" | 41.6 | 40.1 | 34.7 | 33.2 | 28.7 | 27.2 |
| 2" | 53.3 | 51.7 | 43.6 | 42.1 | 38.9 | 37.4 |
| 2-1/2" | 64.2 | 61.2 | - | - | - | - |
| 3" | 79.4 | 76.4 | - | - | - | - |
| 4" | 103.8 | 100.7 | - | - | - | - |
| NPS | 3000# | 6000# | 9000# | |||
| C max. | C min. | C max. | C min. | C max. | C min. |
|
| 1/8" | 3.18 | 3.18 | 3.96 | 3.43 | - | - |
| 1/4" | 3.78 | 3.30 | 4.60 | 4.01 | - | - |
| 3/8" | 4.01 | 3.50 | 5.03 | 4.37 | - | - |
| 1/2" | 4.67 | 4.09 | 5.97 | 5.18 | 9.35 | 8.18 |
| 3/4" | 4.90 | 4.27 | 6.96 | 6.04 | 9.78 | 8.56 |
| 1" | 5.69 | 4.98 | 7.92 | 6.93 | 11.38 | 9.96 |
| 1-1/4" | 6.07 | 5.28 | 7.92 | 6.93 | 12.14 | 10.62 |
| 1-1/2" | 6.35 | 5.54 | 8.92 | 7.80 | 12.70 | 11.12 |
| 2" | 6.93 | 6.04 | 10.92 | 9.50 | 13.84 | 12.12 |
| 2-1/2" | 8.76 | 7.67 | - | - | - | - |
| 3" | 9.52 | 8.30 | - | - | - | - |
| 4" | 10.69 | 9.53 | - | - | - | - |
| NPS | A 2000# | A 3000# | A 6000# | H 2000# | H 3000# | H 6000# |
|---|---|---|---|---|---|---|
| 1/8" | 21 | 21 | 25 | 22 | 22 | 25 |
| 1/4" | 21 | 25 | 28 | 22 | 25 | 33 |
| 3/8" | 25 | 28 | 33 | 25 | 33 | 38 |
| 1/2" | 28 | 33 | 38 | 33 | 38 | 46 |
| 3/4" | 33 | 38 | 44 | 38 | 46 | 56 |
| 1" | 38 | 44 | 51 | 46 | 56 | 62 |
| 1-1/4" | 44 | 51 | 60 | 56 | 62 | 75 |
| 1-1/2" | 51 | 60 | 64 | 62 | 75 | 84 |
| 2" | 60 | 64 | 83 | 75 | 84 | 102 |
| 2-1/2" | 76 | 83 | 95 | 92 | 102 | 121 |
| 3" | 86 | 95 | 106 | 109 | 121 | 146 |
| 4" | 106 | 114 | 114 | 146 | 152 | 152 |
| NPS | G 2000# | G 3000# | G 6000# | B | L2 |
|---|---|---|---|---|---|
| 1/8" | 3.18 | 3.18 | 6.35 | 6.4 | 6.7 |
| 1/4" | 3.18 | 3.30 | 6.60 | 8.1 | 10.2 |
| 3/8" | 3.18 | 3.51 | 6.98 | 9.1 | 10.4 |
| 1/2" | 3.18 | 4.09 | 8.15 | 10.9 | 13.6 |
| 3/4" | 3.18 | 4.32 | 8.53 | 12.7 | 13.9 |
| 1" | 3.68 | 4.98 | 9.93 | 14.7 | 17.3 |
| 1-1/4" | 3.89 | 5.28 | 10.59 | 17.0 | 18.0 |
| 1-1/2" | 4.01 | 5.56 | 11.07 | 17.8 | 18.4 |
| 2" | 4.27 | 7.14 | 12.09 | 19.0 | 19.2 |
| 2-1/2" | 5.61 | 7.65 | 15.29 | 23.6 | 28.9 |
| 3" | 5.99 | 8.84 | 16.64 | 25.9 | 30.5 |
| 4" | 6.55 | 11.18 | 18.67 | 27.7 | 33.0 |
| NPS | 3000# Mass kg | 6000# Mass kg | 9000# Mass kg |
|---|---|---|---|
| 1/8" | 0.10 | 0.17 | 0.24 |
| 1/4" | 0.10 | 0.18 | 0.33 |
| 3/8" | 0.13 | 0.31 | 0.57 |
| 1/2" | 0.24 | 0.46 | 0.77 |
| 3/4" | 0.34 | 0.73 | 1.59 |
| 1" | 0.51 | 1.13 | 2.01 |
| 1-1/4" | 0.77 | 1.50 | 2.92 |
| 1-1/2" | 1.03 | 2.59 | 5.02 |
| 2" | 1.59 | 3.47 | 6.58 |
| 2-1/2" | 2.79 | 6.21 | 11.75 |
| 3" | 4.80 | 9.52 | 17.65 |
| 4" | 14.50 | 15.50 | 23.50 |
| NPS | 2000# Mass kg | 3000# Mass kg | 6000# Mass kg |
|---|---|---|---|
| 1/8" | 0.07 | 0.14 | 0.19 |
| 1/4" | 0.10 | 0.16 | 0.30 |
| 3/8" | 0.14 | 0.32 | 0.48 |
| 1/2" | 0.24 | 0.44 | 0.75 |
| 3/4" | 0.32 | 0.68 | 1.21 |
| 1" | 0.49 | 1.05 | 1.62 |
| 1-1/4" | 0.74 | 1.26 | 2.73 |
| 1-1/2" | 0.99 | 2.43 | 3.57 |
| 2" | 1.61 | 3.35 | 6.16 |
| 2-1/2" | 2.91 | 5.38 | 9.36 |
| 3" | 4.79 | 8.53 | 17.10 |
| 4" | 12.00 | 17.00 | 23.70 |
